A new patent leak reveals the Huawei Pura 80 Ultra’s “switchable telephoto lens,” feature allowing it to switch between two telephoto units. Huawei’s new teaser clips also showcase the series’ camera system by focusing on its powerful zoom capabilities.
The Huawei Pura 80 series is launching on June 11 in China. It is expected to offer new models with improved camera systems, especially the Ultra, which could feature the most powerful set of specs in the series.
According to recent reports, the phone will be equipped with the brand’s in-house lenses, the SC5A0CS and SC590XS. The new Ultra model is allegedly armed with a 50MP 1″ main camera paired with a 50MP ultrawide unit and a large periscope with a 1/1.3″ sensor. The system also allegedly implements a variable aperture for the main camera.

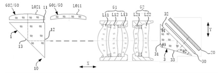
In addition, a new leak confirms that the handheld has a telephoto unit with switchable technology. According to the patent, it has a movable prism that can switch between the phone’s telephoto and super-telephoto units. This lets lenses with different focal lengths share a single CMOS, translating to more space in the phone’s camera section. This new tech is reportedly coming in the entire Pura 80 series.
Recently, the Chinese giant also released new video teasers for the Huawei Pura 80 series. The first clip revisits the company’s past flagship lineups and ends with the upcoming new Pura series, which will sport the XMAGE tech. The second, on the other hand, underscores the focal lengths of one of the Pura 80 models, including its 48mm, 89mm, and 240mm. According to the clip, it can allow users to employ 10x to 20x zoom, which could be hybrid.
What do you think about the Huawei Pura 80 series? Let us know in the comment section!